國家安全監管總局最新頒布的《建設項目職業病防護設施“三同時”監督管理辦法》(國家安全監管總局令第90號令)于2017年5月1日起施行。明確在取消安全監管部門有關行政審批事項的同時,圍繞充分發揮建設項目職業衛生“三同時”制度對職業病危害的前期預防作用的總體目標,細化了建設單位主體責任和安全監管部門監督檢查責任,進一步規范了職業病危害預評價、職業病防護設施設計、職業病危害控制效果評價及職業病防護設施驗收工作。
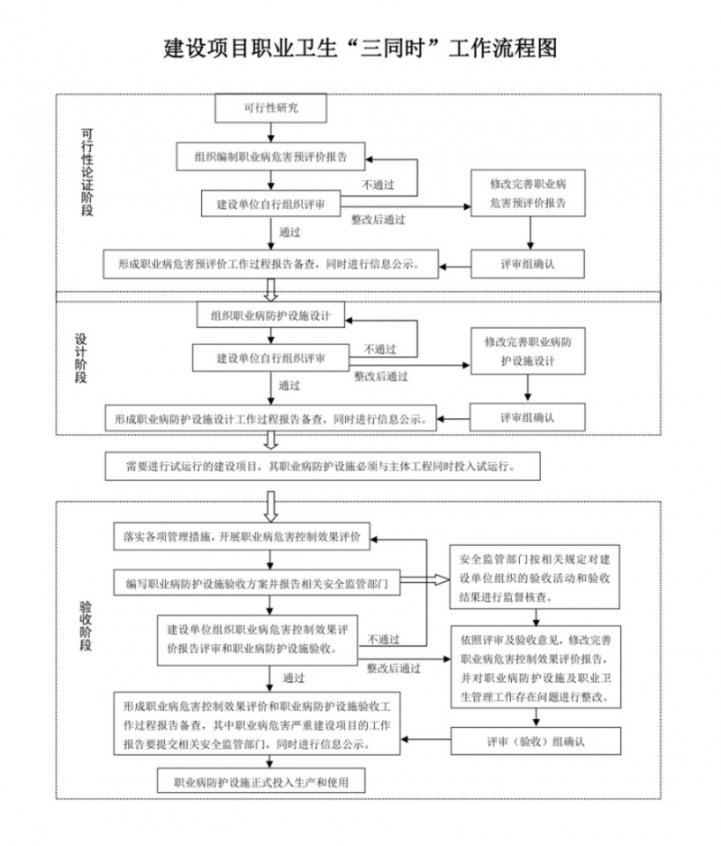
依據《職業病防治法》的相關規定,對于可能產生職業病危害的建設項目,建設單位在可行性論證階段應當進行職業病危害預評價,建設單位的職業病防護設施設計應當符合國家職業衛生標準和衛生要求,建設單位應當在竣工驗收前進行職業病危害控制效果評價。



職業病危害預評價是指在建設項目設計之初,對可能產生職業病危害的建設項目,針對其可能產生的職業病危害因素、對勞動者的健康影響與危害程度、所需防護措施等進行預測性分析與評價,確定建設項目在職業病防治方面的可行性,為職業病防護設施設計提供符合相關法規要求的工程防護技術措施建議。


職業病防護設施設計是針對可行性研究報告以及職業病危害預評價報告提出的工程防護技術措施,提出能夠予以施工建設且滿足相關標準要求的工程設計,包括防護設施的規格型號、設計圖紙、技術參數等。


職業病危害控制效果評價是對職業病防護設施運行的情況和工作場所的職業病危害因素進行監測,確認建設項目對職業健康風險的控制效果,評價防護設施的符合性與有效性,并對建設項目的職業健康風險,提出有效的控制措施要求。
以上報告編制完成后,建設單位負責人還需組織職業衛生專業技術人員開展有關評價報告和職業病防護設施設計評審,向安全監管部門報送驗收方案,形成書面報告等責任,并要求通過公告欄、網絡等方式公布有關工作信息,接受勞動者和安全監管部門的監督。

建設項目職業衛生“三同時”相關工作應委托專業技術服務機構進行
對于建設單位如何實施評價和設計工作,是需要委托專業技術服務機構進行,還是自行實施,現行法律上沒有明確要求。但是,為保證建設項目職業病防護設施“三同時”工作質量,切實從源頭控制職業病危害,對于大多數不具備能力的建設單位,建議其委托專業的職業衛生技術服務機構實施建設項目職業病危害評價工作,委托具有相關設計資質的單位承擔職業病防護設施設計,主要理由有兩點:
一、無論是職業病危害預評價,還是職業病防護設施設計以及職業病危害控制效果評價工作,都是一項技術性、專業性極強的工作,它既需要進行職業病危害因素的識別、職業接觸分析、職業病危害因素檢測與評價,也需要對高風險崗位與人群職業病防護技術措施進行合理策劃并對相關措施的法規符合性進行檢查與判斷。因此,為了確保通過評價或設計來真正實現前期預防的根本目的,需要由具備相關專業技術能力的人員來實施評價或設計。
例如,歐美等工業發達國家均由具備工業衛生師這類專業技術資格的人員實施法規要求的風險評價。但是,我國目前尚未建立類似國外工業衛生師的職業資格管理制度,大多數企業現有的職業衛生管理人員專業知識和業務能力不足,尚不具備實施建設項目評價的知識與能力。目前,我國具備這些知識與能力的專業技術人員,主要是分布在具有資質的職業衛生技術服務機構。因此,基于當前職業衛生專業技術人員的分布限制,建設單位的職業病危害評價工作由職業衛生技術服務機構實施比較符合實際。
因此,職業病防護設施設計需要既掌握設計能力,又了解安全生產與職業健康相關法規、標準,具有一定實踐經驗的專業技術人員來實施,這些人員往往集中在具有設計資質的單位,否則,相關設計難以符合要求,甚至導致勞動者職業健康權益受損。

二、無論是建設項目職業病危害預評價,還是職業病危害控制效果評價,其本質都是對職業接觸水平的檢測、評價與管理,國外稱之為風險評價。
同時,離開了職業接觸水平的檢測(包括類比檢測)、評價與管理,也就無從談及建設項目的職業病危害預評價和職業病危害控制效果評價。依據《職業病防治法》的規定,職業病危害因素檢測、評價應當由依法設立的取得國務院安全生產監督管理部門或者設區的市級以上地方人民政府安全生產監督管理部門按照職責分工給予資質認可的職業衛生技術服務機構進行。
因此,基于職業病危害因素檢測、評價機構的行政許可限制,避免檢測、評價工作的脫節,對于自身不具備相關能力的建設單位,應委托具有專業資質的職業衛生技術服務機構一并實施建設項目職業病危害評價與檢測,以確保職業病危害評價工作質量符合法規、標準要求,切實從源頭保護勞動者職業健康。